Cardiac calcium scoring. Have you heard of it?
Understanding a patient’s heart health requires a combination of tools. You may have heard of common tests such as cardiac stress tests and PET scans. But an additional tool used is the cardiac calcium scan. This test provides additional information to help your provider make better care decisions, ultimately benefiting your long-term health and well-being.
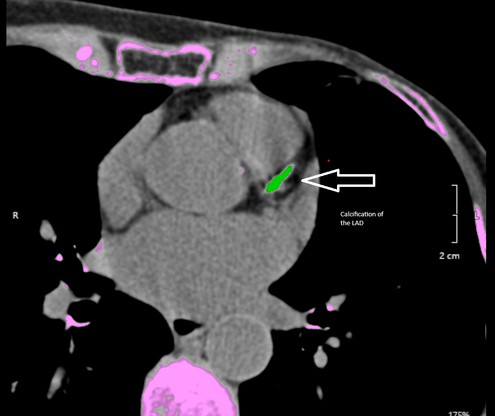
Cardiac calcium scans are painless and performed at our ImageCare locations (see specific locations below). This examination utilizes a computed tomography machine, more commonly known as a CT or CAT scan, to generate multiple cross-sectional images. Calcium scoring using cardiac CT is a non-invasive method for evaluating the coronary artery walls for calcified plaque buildup.
In other words…
The coronary arteries are the vessels that supply oxygen-containing blood to the heart muscle. Calcified plaque results when there is a buildup of fat and other substances under the inner layer of the artery. The coronary arteries typically do not contain calcium. The presence of calcium in the coronary arteries indicates coronary artery disease and is an indicator of heart disease. Because calcium is a marker of the disease, calcium levels are a helpful tool for your provider, and the results are reported as a cardiac score.

The likelihood of you having heart disease or a heart attack correlates with your calcium score. The lower your score and percentile rank, the less likely it is for you to have a cardiac event. The purpose of this scan is to understand your risk of heart attack or disease, taking preventive or corrective measures based on your results. For example, if plaque is present (greater than 0), your provider may recommend lifestyle changes such as quitting smoking, improving your diet, and increasing exercise. The higher your score is, the more treatment your provider may recommend.
Cardiac Calcium Scoring:
0 – No evidence of coronary artery disease
1-10 – Minimal evidence of coronary artery disease
11-100 – Mild evidence of coronary artery disease
101-400 – Moderate evidence of coronary artery disease
Over 400 – Extensive evidence of coronary artery disease
Now that you know what cardiac calcium scoring is, who needs to get a test?
Well, if you have high blood pressure, high cholesterol, or a family history of cardiac disease, you should consider scheduling a cardiac calcium scan for yourself. But with all screenings, to determine if a cardiac calcium scan is best for you, always talk to your provider first. Radiation is used to collect the necessary images for the test. As you know, any radiation is a risk. That’s why it’s important to discuss the scan with your provider. They will determine if the benefits of having the test outweigh the risk of minimal radiation exposure.
Getting a cardiac calcium scan requires specific preparations, including
- NO caffeine 4 hours before the exam
- NO exercise 4 hours before the exam
- NO tobacco products 4 hours before the exam
Also, be sure to inform the technologist if there is any chance you may be pregnant.
Here’s what you can expect during your actual scan:
You will be lying on your back on the CT scan table. Cardiac leads (aka stickers) will be placed on your chest, and you will be asked to hold your breath for a few seconds while the images are being acquired. Then you’re done. The whole process takes 10 minutes!
We perform cardiac calcium scoring at four of our ImageCare Medical Imaging locations.
- ImageCare Balltown, 2546 Balltown Road, Suite 100, Niskayuna, NY 12309
- ImageCare Clifton Park, 1783 Route 9, Suite 104, Clifton Park, NY 12065
- ImageCare Guilderland, 3757 Carman Road, Suite 102, Schenectady, NY 12303
- ImageCare Latham, 6 Wellness Way, West Entrance, Suite G06, Latham, NY 12110
Please note if your insurance doesn’t cover the test, there is a self-pay fee of $120 at the time of service. If you have a specific question about the test, please call the office directly or ask your provider.